玻璃钢储罐安装方法
1、玻璃钢储罐搬运
1)为防止贮罐起吊时摆动失控,应在贮罐上系引导绳。
2)贮罐不准掉落或碰到其他物体上,以免引起贮罐结构部分和内部耐腐蚀层开裂。
3)贮罐不应在粗糙的地面上滚动或滑动,不可碰撞零部件。存放贮罐的场地应平整。
4)操作要仔细,以防工具、脚手架或其他物体撞击贮罐或掉落到贮罐上。操作者进入贮罐时应穿软底鞋。使用梯子时(内侧或外侧)凡与贮罐接触部位应加垫,以防表面刮伤或局部受载。
5)使用起重机时,吊钩头与贮罐之间的间距应至少等于起吊环之间的距离。用一根定距杆使吊耳连接平行且垂直于地面。
6)贮罐没有配备起吊环时,建议在贮罐两端适当位置上用高强布带或起吊缆绳(直径超过25mm)起吊。用叉式起重车调整贮罐位置时,叉子要带软垫。
7)贮罐安装前应放在运输架上,防止因风力或地面倾斜而滚动。
2、安装
2.1基础:立式平底贮罐应安装在连续支承的平面基础上,并有足够的强度,以支承充满液体的贮罐
小型容器(DN≤4500)基础
大型容器(DN≥4500)基础
在罐底排液口处,基础上应有凹槽便于排液,排液接管法兰不得与基础接触。
2.2玻璃钢贮罐安装1)卧式玻璃钢储罐的安装 支撑均采用2α=180°的鞍式支座与容器外壁必须相吻合,现将支座按设计的支撑位置分别放好,完全校直并调平后即可安放容器,支撑与容器之间垫一块4-6mm的橡胶垫,若支座为混凝土结构,为保证容器外壁与支座吻合,可在落罐前在整个支座支撑面上抹一层细砂水泥,在未凝固水泥上铺一层橡胶板,随即落罐,挤出多余水泥,填平吻合。
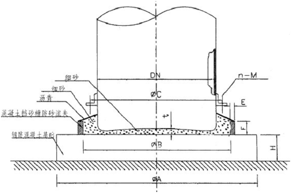
2)立式平底容器的安装2.1)垫砂:在混凝土基础上铺一层建筑细砂,砂中不含大于5mm的石子,原则上中心厚周边薄,周边砂层厚度30-50mm为宜。
2.2)落罐:根据吊装要求,小心将容器落于砂层上,落罐后先不要摘掉挂钩,以便垫符砂子前反复起吊。
2.3)检查:检查罐体是否有渗漏。
2.4)做挡砂槽:为防止底边周边细砂被雨水或溢液冲失,必须按要求砌制或浇筑挡砂槽,该槽凝固后,用细沙填满并捣实。
2.5)沥青封槽:用沥青或沥青砂浆浇灌封闭挡砂槽上口,以防槽内灌水和砂子流失,影响基础的稳定性。
3)现场缠绕容器的安装3.1)按制造厂提供的基础图制作容器时,要求基础上必须有一圈砖砌的挡圈,用于制作容器的平底封头。
3.2)在基础上糊制容器的平底封头。
3.3)敲掉基础上的挡。
3.4)将容器筒体插入底封头中,按工艺单要求进行内外对接。
4)安装接管4.1)一般情况下,现场制作的大型容器不需设计地锚,但高径比大于2则需要考虑锚固措施。
5)注意事项:5.1)立式贮罐用起重机搬运,起吊绳索应连接到顶部吊环上,并用引导绳防止摆动。
5.2)用锁紧凸块将贮罐锚固在基础上。锁紧的凸块用垫片塞紧,应防压载转移到罐壁上。见图A1。
5.3)阀门、控制器及其他连接到贮罐接管上的重型部件都应单独支撑或采用软连接。
罐底与筒身承插对接示意图
表1 罐底与筒身对接尺寸表 单位:mm
| 规格(DN) |
r |
l/min |
L |
tp |
△ |
| DN≤6500 |
50 |
200 |
250 |
设计厚度 |
8 |
| 6500<DN≤8500 |
80 |
200 |
250 |
|
8 |
| 8500<DN≤11000 |
100 |
250 |
450 |
|
10 |
| 11000<DN≤15000 |
120 |
250 |
450 |
|
10 |
| DN>15000 |
120 |
300 |
450 |
|
10 |
 |
 |
| 罐底与筒身镶嵌对接示意图 |
3、安装注意说明 在装卸、运输过程中要平稳,防止碰擦和压伤,在摩擦处放置软质垫。贮罐贮存时可卧放也可立放,立放时加适当水,以防倾倒,卧放时加垫软质垫。防止罐在吊装过程中的损伤,按下列步骤进行吊装:
A、按基础图要求检查尺寸,并实测罐底凹度,用粒度小于5mm的细砂铺垫基础上接触面。
B、用吊车吊贮罐底部,移去支座,将罐底拐角放置在砂床上。
C、在罐顶中部大法兰上安装吊导环。
D、在下部人孔安装双向吊架,双向吊架有内、外吊耳伸入罐内。
E、从吊导环内穿入吊绳,一端挂住第一吊车的吊钩,另一端吊住内吊耳,吊绳不得接触的罐壁,如接触到罐壁应调整内吊而伸入量。第二吊车的吊钩通过吊绳挂住双向吊架的外吊耳。
F、用第一吊车将贮罐锥顶吊起,使罐体倾斜45°用第二吊车缓慢转动贮罐,是罐底拐角在砂床上滑动,直至将罐底吊离地面。
G、小心操纵吊车,将贮罐竖起,吊至基础上定位。
H、检查基础与罐底是否吻合,若否则重新吊起或用周边塞填法,用砂子垫符,直至各部位完全吻合为止。
I、安装下人孔。各法兰上盲板(排气孔除外)。
J、给贮罐冲水然后排空,如此重复2次(亦或与静水压试验同时进行),以稳定贮罐。
K、将熔化的沥青浇注在贮罐底周围,以防止砂子流失(也可做成挡砂槽)。
4、使用A、常压容器使用:严禁加压或抽负压,在加液或排液过程中要留通气孔,不能在密封状态下加液或排液。
B、严禁超越合同规定的使用条件:容器是根据合同的使用条件专门设计制造的,未经供方技术部同意,用户不得随意改变容器存放介质的种类,也不能随意改变容器存放介质的温度及浓度。
C、禁止随意配装特种附件:除用户在合同中特意要求外,不允许配装大型附件如:搅拌器、特种阀门或振动型设备等,若实际需要这些附件, 必须在合同注明,以做特殊设计来保证安全。
D、严禁硬物撞击或划伤:进入容器内清洗和检修时,操作人员要穿软底鞋,使用梯子时,所有与容器接触的点均应包上软垫,以防划伤表面。在周围工作时,防止工具、手脚架和其它硬物撞击容器。
E、远离火源:在通常情况下,玻璃钢制品不允许接近火源。
F、暴露于阳光下的玻璃钢制品(尤其是上封头),经若干年长时间暴晒后,可能表面纤维有裸露现场(地下或室内不存在此类问题),这不会影响强度,只影响外观。可采用在容器外表面涂刷一层颜料的方法解决。
G、应避免容器安装后的再次移位。